Texas Instruments RF430FRL15xH NFC ISO15693 Sensor Transponder
Texas Instruments RF430FRL15xH NFC ISO15693 Sensor Transponder is a 13.56MHz transponder chip with a programmable 16-bit MSP430 low-power microcontroller. The device features embedded universal FRAM non-volatile memory for storage of program code or user data such as calibration and measurement data. The RF430FRL15xH supports communication, parameter setting, and configuration. This can be done through the ISO/IEC 15693, ISO/IEC 18000-3 compliant RFID interface and the SPI or I2C interface. Sensor measurements are supported by the internal temperature sensor and the on-board 14-bit sigma-delta ADC, and digital sensors that can be connected through SPI or I2C. The RF430FRL15xH from Texas Instruments is optimized for operation in fully passive (battery-less) or single-cell battery-powered (semi-active) mode. This achieves extended battery life in portable and wireless sensing applications. FRAM is a non-volatile memory that combines the speed, flexibility, and endurance of SRAM with the stability and reliability of flash, all at lower total power consumption.Features
- MSP430 Mixed-Signal Microcontroller
- 2KB of FRAM
- 4KB of SRAM
- 8KB of ROM
- 1.45V to 1.65V supply voltage range
- Low Power Consumption
- 140µA/MHz (1.5V) active mode rating
- 16µA (LPM3) standby mode
- 16-bit RISC architecture
- Up to 2MHz CPU system clock
- Compact Clock System
- 4MHz high-frequency clock
- 256kHz internal low-frequency clock source
- External clock input
- 16-bit Timer_A with three capture/compare registers
- LV Port Logic
- VOL lower than 0.15V at 400µA
- VOH higher than (VDDB - 0.15V) at 400µA
- Timer_A PWM signal available on all ports
- eUSCI_B module supports 3-wire and 4-wire SPI and I2C
- 32-bit Watchdog Timer (WDT_A)
- ROM development mode
- Full 4-wire JTAG debug interface
- ISO/IEC 15693, ISO/IEC 18000-3 (Mode 1) compliant RF interface
- Power supply system with either battery or 13.56MHz H-Field supply
- 14-bit sigma-delta Analog-to-Digital Converter (ADC)
- Internal temperature sensor
- Resistive sensor bias interface
- CRC16 CCITT generator
Applications
- Industrial wireless sensors
- Medical wireless sensors
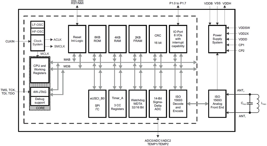
Functional Block Diagram
TI Reference Designs Library
Paskelbta: 2015-09-02
| Atnaujinta: 2022-03-11
