STMicroelectronics MEMS Gyroscopes
STMicroelectronics MEMS Gyroscopes, with wide full-scale range (from 30 up to 6000dps), offers a complete portfolio of single, dual, and tri-axis gyroscopes with excellent performance in terms of accuracy and stability over time and temperature for consumer and industrial markets. By incorporating an accelerometer and actuator in a single micromachined structure, MEMS Gyroscopes leverage on robust and mature manufacturing processes already successfully used for the high-volume production of more than half a billion linear accelerometers. MEMS Gyroscopes feature an extended power supply range of 2.4 to 3.6 V. These STMicroelectronics MEMS Gyroscopes feature excellent stability over a wide temperature range and a wide range of full scales are available. The STMicroelectronics MEMS Gyroscopes also offer embedded self-test, embedded power down, sleep mode, and high shock survivability. Single and dual-axis gyroscope is available in yaw, pitch and yaw, and pitch and roll; the tri-axis gyroscope is available in yaw, pitch, and roll in a single package. Applications for STMicroelectronics MEMS Gyroscopes include GPS, gaming systems, image stabilization, and remote control devices.Features
- Tri-axis: yaw, pitch, and roll in a single package
- Extended power supply range: 2.4 to 3.6V
- Selectable full scale: from 250 to 2000dps
- < 6.1mA current consumption in normal mode
- < 1.5mA current consumption in sleep mode
- < 5μA current consumption in power-down mode
- High resolution: up to 0.03dps/√Hz
- Ultra-high stability over temperature
- Operating temperature range: -40 to + 85°C
- Embedded self-test
- Embedded power-down
- Sleep mode
- High shock survivability
- Integrated fully configurable low pass and high pass filters
- Embedded FIFO
- Embedded temperature sensor
Applications
- Gaming and virtual reality input devices
- Motion control with MMI (man-machine interface)
- GPS navigation systems
- Appliances and robotics
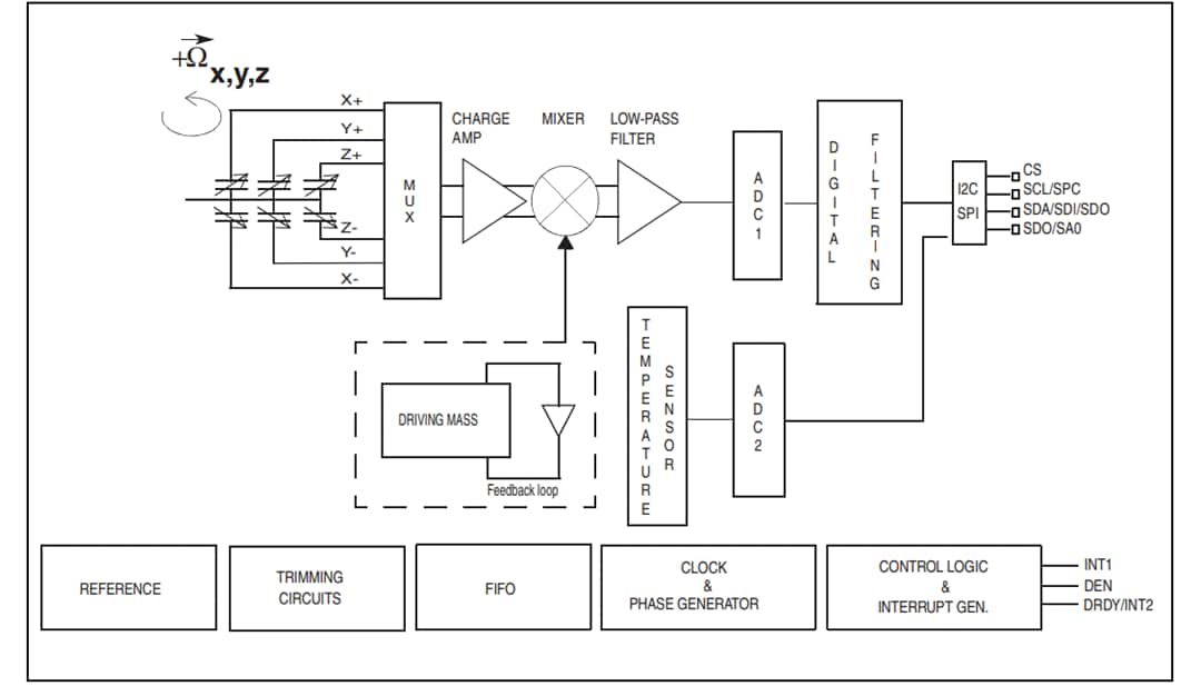
Block Diagram
Paskelbta: 2009-08-11
| Atnaujinta: 2022-03-11
