STMicroelectronics ISO808 Galvanic Isolated 8-Channel Drivers
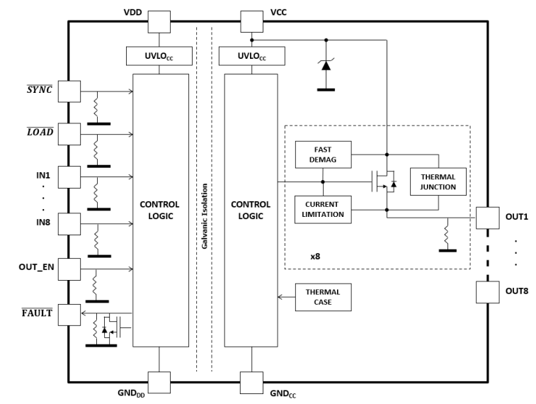
STMicroelectronics ISO808 Galvanic Isolated 8-Channel Drivers are intended to drive any load with one side connected to the ground. Each driver contains two independent galvanically isolated voltage domains (VCC and VDD for the process and control logic stages). These drivers offer a low supply current, maximum 45V process stage supply voltage, 0.125Ω ON state resistance per channel (typical) RDS(ON), reset function for IC outputs disabled, high common mode transient immunity, and short circuit protection on output channels. The ISO808 drivers also offer per-channel over-temperature protection with thermal independence of separate channels, case over-temperature protection, over-voltage protection, and loss of GND and VCC protections.The ISO808 drivers include an additional case temperature sensor that protects the whole chip against overtemperature (OVC event). Non-overloaded channels continue to operate normally. These drivers also include loss of ground protection, VCC and VDD UVLOs (with hysteresis), and watchdog-embedded functions. The ISO808 drivers are used in programmable logic control, industrial PC peripheral input/output, and numerical control machines.
Features
- Fast demagnetization of inductive loads VDEMAG(TYP) = VCC - 54V
- Low process and logic sides supply current
- Under-voltage shut down with auto-restart and hysteresis
- Logic side 5V and 3.3V TTL/CMOS and MCU compatible I/Os
- Common output enable/disable pin
- Reset function for IC outputs disable
- High common mode transient immunity
- Per-channel over-temperature protection with thermal independence of separate channels
- Case over-temperature protection
- Over-voltage protection (VCC clamping)
- Loss of GND and VCC protections
- Common fault open drain diagnostic
- Designed to meet IEC 61000-4-2, IEC 61000- 4-4, IEC 61000-4-5, and IEC 61000-4-8
- UL1577 and UL508 certified
- PowerSO-36 Package
Specifications
- 45V maximum process stage supply voltage
- 9.2VCC to 36VCC wide process side op range
- 0.125Ω ON state resistance per channel (typical) RDS(ON)
- Short circuit protection on output channels:
- ISO808 ILIM(MIN) = 0.7A
- ISO808 ILIM(MIN) = 1A
- Per channel process side op. current:
- ISO808 IOUT <0.7A
- ISO808-1 IOUT <1A
Applications
- Drivers for all types of loads:
- Resistive
- Capacitive
- Inductive
- Programmable logic control
- Industrial PC peripheral input/output
- Numerical control machines
Block Diagram
Paskelbta: 2023-01-20
| Atnaujinta: 2025-08-08
